EL34 SE Hi-Fi Verstärker
- ich hatte noch Ausgangsübertrager, und die passten zur EL34.
Irgendwer hatte sie mir mal geschenkt mit den Worten:
"Brauch ich nicht, nimm mit."
Ich wollte sie nicht nutzlos herumliegen lassen, und irgendwann packte es mich
und ich
fing an zu planen. Doch was gibt es da zu planen ?
Nicht viel, außer das Chassis, und das flog mir in Form einer stabilen Aluminium-Schale
zu.
Schaltpläne gibt es mehr als genug, also entschloss ich mich für die Standart
EL34 Schaltung
mit ECC83 in der Vorstufe. Ich entschied mich diesmal dazu, den Netztrafo extern
zu belassen,
die Spannungen und Anschlüsse für den Netzschalter kommen durch ein 7-poliges
Kabel.
Da es immer so eine Sache ist mit Netztrafos für Röhrenprojekte, benutzte ich
einen normalen
Trenntrafo und fügte die Heizwicklung hinzu. Das geht allerdings nicht bei
jeden Trenntrafo.
Ich zeichnete alles am Chassis an, bohrte und senkte bis alle Löcher fertig waren.
Nach der Pulverharzbeschichtung konnte ich dann auch die Teile anbauen und alles
verdrahten,
dabei fiel mir auf daß ich kaum noch auf den Schaltplan schauen musste dabei,
ich hatte das Ganze
schon völlig verinnerlicht. Dieser Verstärker funktionierte auf Anhieb
perfekt.
Nachdem es bisher so gut lief besorgte ich mir ein Brett aus dem ich mir die
Bodenplatte ausschnitt
und diese anschließend schliff und beizte - Mahagoni war mir ganz recht. Danach
kam die Lackierung,
das finde ich immer heikel. Ich habe noch nie ein Holz erlebt welches den Lack
dermaßen weggesoffen
hat, ich habe mit der Spraydose fünf mal draufgehalten.
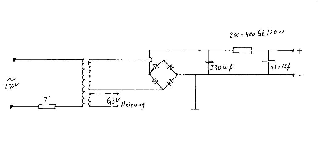
Die Anodenspannung wird über den Widerstand zwischen den Netzelkos passend
eingestellt.
Je nach verwendetem Trafo liegt dieser im Bereich von 200-400 Ohm. Bei mir
stellt sich das
dann folgendermaßen dar: 230 Volt (sek.)Wechselstrom ergeben hinter dem
Silizium-Gleichrichter
325 Volt Gleichstrom. Bei Verwendung von 200 Ohm in der + Leitung zwischen den
Netzelkos
komme ich so auf 260 Volt im Betrieb. Die Vorstufe arbeitet mit 215 Volt.
Der Klang ist mit einer Gegenkopplung unheimlich weich und sauber !!
Mit diesem Gerät kann ich übrigens KT66, EL34, CV1947 und
6L6 als Endröhren betreiben.
Den Schaltplan gibt es HIER,
für das Netzteil klicke HIER
Hier das Gerät mit KT66 und Messing - Zierringe

Und noch mal mit EL34 und ohne Zierringe....
